Site icon Le Blog Domotique

Des lunettes connectées Amazon bientôt commercialisées ?

Des lunettes connectées Amazon pourraient bientôt voir le jour et venir concurrencer les Google Glass. Amazon a en effet récemment déposé un brevet à l’USPTO.

Les lunettes connectées Amazon seraient donc le prochain chantier du géant Américain du e-commerce. Son PDG  Jeff Bezos n’entend pas se laisser devancer par Google. Sur les documents accompagnant la demande de dépôt de brevet, plusieurs schémas permettent de reconnaître des lunettes. Ces smart glasses seraient, pour le moment, destinées aux salariés de la marque et pourraient leur permettre de trouver plus rapidement les produits à expédier aux clients d’Amazon.

 

Alors, les employés de Jeff Bezos vont-il devenir des pseudo-cyborgs ? On est en pas loin ! Jeff Bezos a toujours misé beaucoup pour optimiser le travail de ses salariés dans ses entrepôts. Chaque espace de stockage est une mini ville où tout ce qui peut être automatisé l’a été et où chaque, jour, des petites mains sont guidées par des machines.

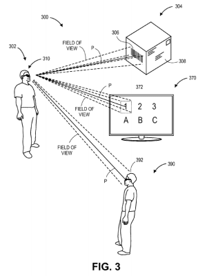
Les lunettes seront dotées d’un ordinateur qui reconnaît dans quelles zones sont situés les objets. Les verres ont également un capteur d’image qui pourraient reconnaître des objets associés à une tâche donnée. Le capteur peut également reconnaître les différents types des colis, les adresses postales, les codes barres ou encore les QR codes.

Les lunettes fourniront des informations spécifiques textuelle dans la lentille afin de permettre l’identification des produit sans erreur tout en permettant à l’utilisateur de garder les mains libres. Lorsque le capteur situé dans les verres reconnaît l’objet cible, il donne des instructions à l’utilisateur sur ce qu’il faut faire. Il pourra aussi simplement fournir plus d’informations sur l’objet comme, par exemple, sa destination ou sa méthode d’expédition.

Alors ces lunettes connectées Amazon ne seront-elles qu’utilisées dans les gigantesques entrepôts de la marque ? Rien n’est moins sûr ! D’autres industriels et entreprises pourraient bien être intéressés par de tels dispositifs.

Source

Quitter la version mobile